สิทธิบัตรเผย Samsung Galaxy Z Tri-Fold มาพร้อมแบตเตอรี่ 3 ก้อน

ใครรอคอยการมาของมือถือพับได้จาก Samsung ล่าสุดมีเรื่องที่น่าตื่นเต้นออกมาแล้ว โดยเป็นการค้นพบสิทธิบัตรที่คาดว่าจะเป็น "Galaxy Z Tri-Fold" ว่าที่สมาร์ทโฟนจอพับ 3 ทบรุ่นแรกของค่าย ที่ไม่ได้มีแค่จอแสดงผลที่ใหญ่ขึ้น แต่ยังมาพร้อมนวัตกรรมการออกแบบแบตเตอรี่ที่ไม่เคยมีมาก่อน
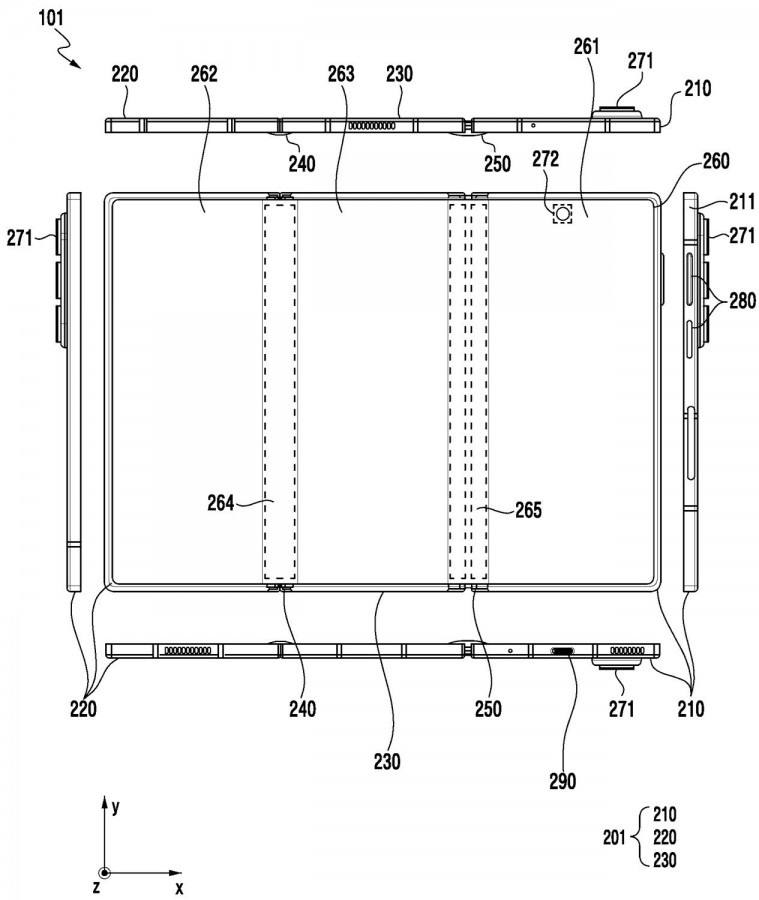
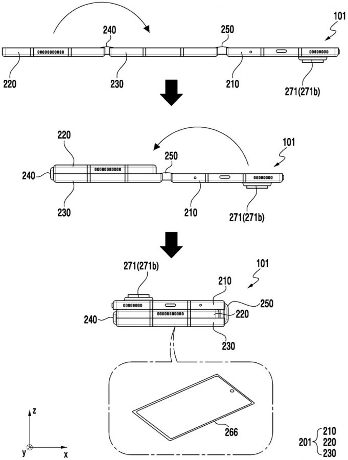
เอกสารสิทธิบัตรที่เผยแพร่โดย KIPRIS (บริการข้อมูลสิทธิในทรัพย์สินทางปัญญาของเกาหลี) ได้แสดงให้เห็นภาพสเก็ตช์การออกแบบภายในของ Galaxy Z Tri-Fold ซึ่งเผยให้เห็นการติดตั้งแบตเตอรี่ถึง 3 ก้อน แยกกันอยู่ในแต่ละส่วนของตัวเครื่องที่พับได้ นับเป็นแนวทางวิศวกรรมที่น่าสนใจเพื่อแก้ปัญหาด้านพลังงานและสมดุลของน้ำหนักในอุปกรณ์ที่มีหน้าจอขนาดใหญ่เช่นนี้
พับ 3 ทบ จะต้องใช้แบตเตอรี่ 3 ก้อน?
จากการภาพสเก็ตช์ ทำให้เราเห็นการจัดวางแบตเตอรี่ที่เรียกว่าแปลกเพราะวางทุกส่วนของเครื่องได้แก่
- ก้อนที่เล็กที่สุด (T1): ถูกติดตั้งในส่วนของบานพับที่มีชุดกล้องหลัง 3 ตัว ซึ่งเป็นส่วนที่ต้องการพื้นที่สำหรับโมดูลกล้องมากที่สุด
- ก้อนขนาดกลาง (T3): อยู่ในส่วนของจอด้านนอก (Cover Display) ซึ่งเป็นส่วนที่ผู้ใช้โต้ตอบบ่อยครั้งเมื่อพับเครื่อง
- ก้อนที่ใหญ่ที่สุด (T2): ถูกวางไว้ในส่วนกลางของเครื่อง ซึ่งจะถูกประกบอยู่ระหว่างอีกสองส่วนเมื่อพับเก็บ ถือเป็นการใช้พื้นที่ให้เกิดประโยชน์สูงสุด
แม้ว่าในสิทธิบัตรจะยังไม่ระบุถึงความจุรวมหรือความเร็วในการชาร์จ แต่การออกแบบลักษณะนี้แสดงให้เห็นว่า Samsung ให้ความสำคัญกับระยะเวลาการใช้งานอย่างจริงจัง และอาจเป็นการแก้จุดอ่อนของ Galaxy Z Fold 7 ที่มีแบตเตอรี่เพียง 4,400 mAh และรองรับการชาร์จเพียง 25W ซึ่งถือว่าค่อนข้างน้อยเมื่อเทียบกับคู่แข่งในตลาด
คาดว่าจะเปิดตัวปลายปี?
และมาถึงเรื่องการเปิดตัวที่หลายคนลุ้น Samsung อาจสร้างเซอร์ไพรส์ด้วยการเปิดตัว Galaxy Z Tri-Fold ในช่วงปลายเดือนตุลาคมนี้ โดยอาจจะเผยโฉมอย่างเป็นทางการในงานประชุมสุดยอด APEC (ความร่วมมือทางเศรษฐกิจเอเชีย-แปซิฟิก) ซึ่งจะจัดขึ้นในวันที่ 31 ตุลาคม - 1 พฤศจิกายน 2025
สำหรับตลาดที่จะวางจำหน่าย ในตอนแรกมีข่าวว่าจะจำกัดเฉพาะในเกาหลีใต้และจีน แต่ข้อมูลล่าสุดบ่งชี้ว่าอาจมีการขยายตลาดไปยังสหรัฐอเมริกาและภูมิภาคอื่นๆ ด้วยเช่นกัน
นับเป็นอีกก้าวที่น่าจับตามองของ Samsung ในการผลักดันนวัตกรรมสมาร์ทโฟนจอพับ ซึ่ง Galaxy Z Tri-Fold ไม่เพียงแต่จะมอบประสบการณ์การใช้งานแบบแท็บเล็ตในร่างสมาร์ทโฟน แต่ยังมาพร้อมกับการออกแบบภายในที่ซับซ้อนและน่าทึ่ง ต้องรอติดตามกันต่อไปรุ่นนี้จะได้รับผลตอบรับดีแค่ไหน
ดาวน์โหลดสนุกแอปฟรี






